泵的知(zhī)識 PUMP KNOWLEDGE
行(háng)業新(xīn)聞
您當前位置(zhì):網站首頁 >> 泵的知識 >> 詳情內容
智慧型無(wú)負壓穩流設備立(lì)式罐安(ān)裝方法(fǎ)
時間:2013/8/13 來源:浙江揚(yáng)子江泵業有限公司
ZWL係列立式罐(guàn)供水設備設計方法可參照下麵的方法:
感謝您訪問我們香蕉视频网站江泵業的網站www.a-vested-interest.com,如有任何水泵疑問我(wǒ)們一定會盡(jìn)心盡力為您提供優質的(de)服(fú)務。
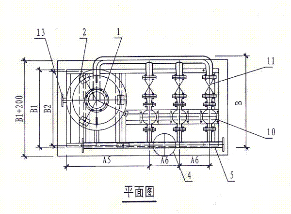
設備組成名稱表 | ||||||||
序號 |
1 |
2 |
3 |
4 |
5 | |||
名稱(chēng) |
防負(降)壓裝置 |
穩流罐(guàn) |
壓力傳感(gǎn)裝置 |
氣壓水罐 |
出水管 | |||
| ||||||||
序號 |
6 |
7 |
8 |
9 |
10 |
11 |
12 |
13 |
名稱 |
控製(zhì)閥 |
止回閥 |
軟接頭 |
底座 |
水泵 |
進水閥 |
旁通閥(fá) |
進水口 |
- 下一篇(piān):潛水排汙泵在消防電梯井中的安裝使用方法
- 上一篇(piān):SK-20水環式真空泵安裝及外形尺寸圖