產品中心(xīn) PRODUCTS LIST
真(zhēn)空(kōng)泵(bèng)係列
您當前(qián)位置:網(wǎng)站首頁 >> 產品(pǐn)中(zhōng)心 >> 真空泵係列 >> ZKJ真空箱機組
ZKJ真空箱機組
ZKJ真(zhēn)空(kōng)箱機(jī)組是通過2X型真空泵、真空箱(xiāng)、電器箱、真空表、電磁放氣閥五大類組成真空箱機(jī)組。真空泵在形成一定要求(qiú)的真空或壓力時,從而滿足(zú)工藝過程要在真空狀態下進行的要求(qiú),ZKJ真空箱機組可廣泛適用於工藝品、化工、製藥、冶金、電(diàn)子、科研等行業使用(yòng)。
目錄
ZKJ真空箱機組概述
ZKJ真空箱機組是通過2X型(xíng)真空泵、真(zhēn)空箱、電器箱、真空表、電磁放氣閥五大類組成真空箱機組。真空泵在形成一定要求的真空或(huò)壓力時,從而滿足工藝過程要(yào)在真空狀態下進行的要求,ZKJ真空箱(xiāng)機組可廣泛適用(yòng)於工(gōng)藝品、化工、製藥(yào)、冶(yě)金、電子、科研等行業使用。
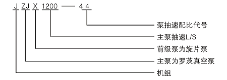
ZKJ真空箱機組概述型號表示方法
真空(kōng)機電路(lù)圖
ZKJ真(zhēn)空箱機組概述技術參數
| 型號 |
內腔容(róng)積 (m3) |
真空度 (Pa) |
電壓 (V) |
規格直徑×長(zhǎng)度 (mm) |
配用真空泵規格 |
| ZKJ-400 | 0.075 | 400×600 | 2X-4A | ||
| ZKJ-500 | 0.137 | 500×700 | 2X-8A | ||
| ZKJ-600 | 0.226 | 6×10-2 | 380 | 600×800 | 2X-8A |
| ZKJ-700 | 0.308 | 700×800 | 2X-15 | ||
| ZKJ-800 | 0.502 | 800×1000 | 2X-15 | ||
| ZKJ-1000 | 1.02 | 1000×1300 | 2X-30 |
相關文章











