NL係列汙水泥漿泵安裝示意圖
時間:2010/5/9 來源:浙江香蕉视频网站江泵業有限公司
一、拆卸安裝
二、安裝示意圖

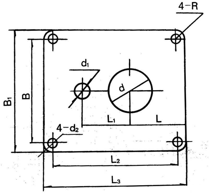
三(sān)、泵固(gù)定安裝板尺寸
|
型號/代號 |
L |
L1 |
L2 |
L3 |
B |
B1 |
d |
d1 |
4-d2 |
4-R |
δ |
|
NL25-10 |
180 |
120 |
350 |
400 |
280 |
330 |
72 |
40 |
13 |
25 |
6 |
|
NL50-8 |
255 |
230 |
590 |
650 |
490 |
550 |
215 |
70 |
18 |
30 |
8 |
|
NL80-9 NL50-12 NL76-9 |
255 |
230 |
590 |
650 |
490 |
550 |
258 |
80 70 70 |
18 |
30 |
10 |
|
NL65-16 NL80-12 NL50-24 |
255 |
285 |
690 |
750 |
590 |
650 |
175 |
70 110 70 |
18 |
30 |
12 |
|
NL100-16 NL100A-16 |
380 |
350 |
920 |
1000 |
820 |
900 |
226 |
115 70 |
18 |
40 |
14 |
- 下(xià)一(yī)篇:LW型(xíng)直(zhí)立式(shì)無堵塞排汙泵(安裝尺(chǐ)寸)
- 上(shàng)一篇:齒輪泵相關國家標準











